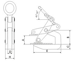
Przeznaczony jest do transportu i przenoszenia pojedynczych lub pakietów związanych blach. Dźwignia zaciskająca może być wyposażona w stopkę lub rolkę. Udźwig podany jest dla jednej sztuki. Uchwyty tego typu nie należy stosować do cienkich wyginających się blach. Kąt między cięgnami zawiesia wyposażonego w uchwyty nie powinien przekraczać 90 °.
![]() |
![]() |
|
|||||||||||||||||||||||||||||||||||||
W zamówieniu należy podać Typ UBP / S – zakończenie stopką , R – zakończenie rolka.
Zdjęcia:
Uchwyt do transportu blach lub pakietów. Typ UBP S/R o DOR 1,5t i zakresie chwytania od 5 do 60mm. Wyposażony w stopkę dociskową, możliwe wykonanie z rolką obrotową lub stałą. Stosować w układzie 2,3 lub 4 cięgnowym.
Uchwyty do podnoszenia i transportu blach , związanych pakietów w poziomie TYP UBP-S 3,2 DOR - 3200kg i zakresie chwytania 10 - 90mm. Łapa dociskowa wyposażona w stopkę.
Uchwyty UBP-S 3,2 DOR - 3200kg i zakresie chwytania 10 - 90mm wyposażone w stopkę.

