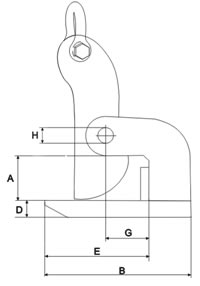
Uchwyty UBP, UBPO przeznaczone są do podnoszenia pojedynczych lub związanych pakietów blach w pozycji poziomej. Udźwig podany jest dla 1 szt. Dwa uchwyty stanowią komplet. Maksymalny kąt między cięgnami wynosi 90 st.
![]() |
![]() |
|
||||||||||||||||||||||||||||||||||||||||||||||||||||||||||||||||||||||||||||||||||||||||||||||||||||||||||||||||||||||||||||||||||||||||||||||||
W zamówieniu należy podać Typ. Wykonanie z ząbkami należy dodać Z .
Zdjęcia:
|
Typ UBP-R 1 DOR-1t L-120mm |
|
Typ UBP-3 DOR-3t zakres chwytania blach 0-50mm |
![]() |
| Uchwyt do przenoszenia blach w poziomie - TYP UBP 1,5t i zakresie chwytania 0 - 50mm , wykonanie bez ząków na szczęce dociskowej. Możliwe wykonanie z ząbkami. |
![]() |
| Uchwyt do przenoszenia blach w poziomie - TYP UBP 0,5t i zakresie chwytania 0-30mm , wykonanie bez ząbków na szczęce dociskowej. Możliwe wykonanie z ząbkami. |





