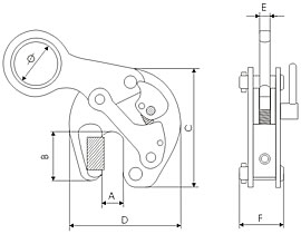
Przeznaczony do przenoszenia kształtowników wyposażony w szczęki ze stali hartowanej. Spełnia wymogi bezpieczeństwa. Stosując 2 uchwyty jednocześnie należy zastosować trawersę. Udźwig podany dla jednej sztuki.
![]() |
![]() |
|
|||||||||||||||||||||||||||||||||||||||||
W zamówieniu należy podać Typ.
Zdjęcia:
![]() |
![]() |
| Uchwyt do transportu kształtowników wyposażony w szczęki zestali hartowanej. Typ UPD-1 DOR-1t i zakresie chwytania 3-20 mm. Wstępny docisk za pomocą rygla |
|
![]() Typ UPD-1 DOR-1t zakres chwytania 0-20mm. |
|




