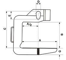
Uchwyt UCH przeznaczony jest do podnoszenia i transportu pionowego kręgów lin, drutu oraz zwojów blach. Działa na zasadzie zaczepienia kręgu od środka.
![]() |
![]() |
|
|||||||||||||||||||||||||||||||||||||||||||||||||||||||||||||||||||||||||||||||||||||||||||||||||||||||||||||||||||||||||||||||||||||||||||||||||||||||||||||||||||||||||||||||||||||||||||||||||||||||||||||||||||||||||||||||||||||||||||||||||||
W zamówieniu należy podać Typ.
Zdjęcia:

Typ UCH-2 DOR-2t ramie nośne A-300mm.

Typ UCH-5 DOR-5t ramie nośne A-1250mm.

Uchwyt TYP UCH-3/600 do transportu kręgów blach DOR - 3000kg i długości ramienia 600mm, dodatkowo wyposażony w stojak.

Uchwyt do podnoszenia i transportu kręgów blach TYP UCH-20/1500 DOR - 20000kg i długości ramienia 1500mm ,przeciw waga umiejscowiona z czoła uchwytu.Uchwyt dodatkowo wyposażono w boczne podpory umożliwiające stabilność pionową kiedy uchwyt nie pracuje.

Uchwyt do podnoszenia i transportu kręgów blach TYP UCH-16/1500 DOR- 16000kg i długości ramienia 1500mm. Ramie dolne i pionowe dodatkowo wyposażone w osłonę gumową. Przeciwwaga umiejscowiona po bokach górnego ramienia. Dodatkowo boczne podpory.

