Przeznaczony do pionowego transportu beczek. Prosty i łatwy w obsłudze.
![]() |
![]() |
|
|||||||||||||||
W zamówieniu należy podać Typ.
Zdjęcia:

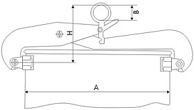
Uchwyt szczękowy półautomatyczny do podnoszenia i transportu beczek metalowych o średnicy 360mm.

Na zdjęciu uchwyt szczekowy Typ BPX-PW DOR 500kg przystosowany do podnoszenia i transportu beczek plastikowych fi 515mm. Uchwyt wyposażony w zaczep widłowy do wózka widłowego.
Na zdjęciu uchwyt szczękowy Typ BPX-50 do podnoszenia i transportu beczek metalowych. Uchwyt zamocowany na uchwycie widłowym Typ UW-1 w wózku widłowym.

